- Cattle
- Horses
- Sheep and goats
- Pigs
- Drinking bowls for piglets
- Drinking bowls for fattening pigs
- Drinking bowls for soas and boars
- Drinking bowls for sows with piglets
- Heated drinking bowls, heating units
- Bite nippels for piglets
- Nipple drinker for fattening pigs
- Nipple drinkers for sows and boars
- Spraying nipple for pigs
- Pin valves for pigs
- Pipes
- Fittings
- Disinfection bath for boots, carcass cover
- Animal breeding products pigs
- Zoo-animals
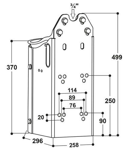
Steel Post for Mod. 25R, 40 cm
- Robust Steel Post helps to protect drinking bowls against blows and impacts of bulls (or other animals). The force of jumping bulls (or cows) is transferred to the post, preventing damage to the drinking bowl.
- Made of thick hot-galvanized steel
- Suitable for drinking bowl Mod. 25R, drinking height 40, 60 or 80 cm
- Inclusive fastening material for the drinking bowl
- Mounting on a wall or on a post possible
- Special holes are foreseen for installation between the gates, as well as for mounting of the heating element and of the circuit pipe. Please note: Images still show the old version of the holes. The current hole pattern is shown in the dimension graphic.
Options for Frost Protection
Option 1: Connection to a Water Circuit
- In combination with a SUEVIA connection set for ¾" water circuits in stainless steel, an easy integration into water circuits is possible. A perforated hole (on left or right side) is foreseen for installation of the circuit pipe. Circuit pipe is protected by the steel post against animals impacts.
- Valve is frost-protected. Remaining water in the bowl may freeze.
- For connection to a water circuit we recommend SUEVIA heating units
Option 2: Frost-free with heating set, feed pipe connection from below
- To protect the valve and the bowl from freezing a Heating Set 24 V, 80 W is installed inaccessible for the animals inside of the steel post underneath the bowl Mod. 25R/19R.
- Valve and bowl are frost-protected.
- To ensure a frost-free feed pipe, a frost protection heating cable 24 V, 20 W, 2 m (Ref. 101.0861), or a 24 V, 30 W, 3 m (Ref. 101.1863) has to be wrapped around the water pipe and connected to the transformer together with the heating element of the drinker. If plastic pipes are used, they must first be wrapped with an aluminium adhesive tape. All water line pipes must be insulated.
- For power supply a SUEVIA Transformer 230/24 V is necessary. For automatic switch on/off of transformer a thermostat (Ref. 101.0389) can be additionally installed.
Reference
101.0462
GTIN-code
4025338125627